KASTAS
Hydraulik- och Pneumatiktätningar
Användningsområden
Entreprenadmaskiner, truckar, formsprutningsmaskiner, jordbruksmaskiner, lastkaj- och standardcylindrar
Tätningar för fram- och återgående rörelse i hydraulik- och pneumatiksystem.
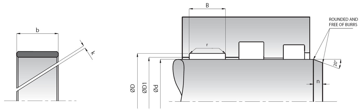
Styrring
Funktionen hos styrringar är att styra kolven och kolvstången i en hydraulcylinder och ta upp de sidokrafter som uppkommer. På samma gång förhindrar den metall mot metall-kontakt och optimerar därmed tätningssystemet prestanda
Att tänka på vid val av hydraulik/pneumatiktätningar
• Bestämma val av ett för applikationen lämpligt inbyggnadsmått.
• Att följa de rekommendationer som gäller toleranser, ytfinhet, radier etc. för inbyggnaden.
• Att tänka igenom hur tätningen kommer att monteras. Hur mycket den behöver töjas eller om den kan skadas av skarpa kanter.
• Tryck (min/normalt/max)
• Hastighet (cykler/slaglängd)
• Temperatur (min/normalt/max)
• Media (typ, viskositet etc.)
I ett hydraul- eller pneumatiksystem är det av stor vikt att man väljer rätt anpassade typer av tätningar.
Driftsäkerhet samt livslängd kommer att påverkas av detta val.
Produktfördelar
•Slitstarka
• Enastående friktionsegenskaper
• Enkel montering
• Brett sortiment
• För medeltunga applikationer
MATERIAL |
|
|
|
POM (glasfylld) | PM9902 |
|
|
| DRIFTSFÖRHÅLLANDEN |
|
|
MEDIA | Mineralolja (DIN 51524) | HFA och HFB | HFC |
TEMPERATUR | -30 °C | +5 °C | -30 °C |
| +125 °C | +50 °C | +40 °C |
TRYCK | ≤40 N/mm2 | ≤40 N/mm2 | ≤40 N/mm2 |
|
|
|
|
HASTIGHET | ≤2,0 m/s | ≤2,0 m/s | ≤2,0 m/s |
| Bredd b | 9,4 mm |
|---|---|
| Bredd B (-0/+0,2) | 9,6 mm |
| d (innerdiameter) | 16 mm |
| D (ytterdiameter) | 20 mm |
| D1 (H9) | 16,4 mm |
|---|---|
| k | 1 mm |
| r | 0,2 mm |
Hydraulik- och Pneumatiktätningar
Användningsområden
Entreprenadmaskiner, truckar, formsprutningsmaskiner, jordbruksmaskiner, lastkaj- och standardcylindrar
Tätningar för fram- och återgående rörelse i hydraulik- och pneumatiksystem.
Styrring
Funktionen hos styrringar är att styra kolven och kolvstången i en hydraulcylinder och ta upp de sidokrafter som uppkommer. På samma gång förhindrar den metall mot metall-kontakt och optimerar därmed tätningssystemet prestanda
Att tänka på vid val av hydraulik/pneumatiktätningar
• Bestämma val av ett för applikationen lämpligt inbyggnadsmått.
• Att följa de rekommendationer som gäller toleranser, ytfinhet, radier etc. för inbyggnaden.
• Att tänka igenom hur tätningen kommer att monteras. Hur mycket den behöver töjas eller om den kan skadas av skarpa kanter.
• Tryck (min/normalt/max)
• Hastighet (cykler/slaglängd)
• Temperatur (min/normalt/max)
• Media (typ, viskositet etc.)
I ett hydraul- eller pneumatiksystem är det av stor vikt att man väljer rätt anpassade typer av tätningar.
Driftsäkerhet samt livslängd kommer att påverkas av detta val.
Produktfördelar
•Slitstarka
• Enastående friktionsegenskaper
• Enkel montering
• Brett sortiment
• För medeltunga applikationer
MATERIAL |
|
|
|
POM (glasfylld) | PM9902 |
|
|
| DRIFTSFÖRHÅLLANDEN |
|
|
MEDIA | Mineralolja (DIN 51524) | HFA och HFB | HFC |
TEMPERATUR | -30 °C | +5 °C | -30 °C |
| +125 °C | +50 °C | +40 °C |
TRYCK | ≤40 N/mm2 | ≤40 N/mm2 | ≤40 N/mm2 |
|
|
|
|
HASTIGHET | ≤2,0 m/s | ≤2,0 m/s | ≤2,0 m/s |
|
|
|
|
|
|
||
|---|---|---|---|---|---|---|
|
|
|
|
|
|
||
|
|
|
|
|
|
||
|
|
|
|
|
|
||
|
|
|
|
|
|
||
|
|
|
|
|
|
||
|
|
|
|
|
|
| Varianter | Nedladdning av CAD | Bredd b | Bredd B (-0/+0,2) | d (innerdiameter) | D (ytterdiameter) | D1 (H9) | k | Pris/enhet | ||
|---|---|---|---|---|---|---|---|---|---|---|
|
16/20X10 I STYRRING
Art.nr.
01602010K68
Kopierad :-)
|
9,4 mm
|
9,6 mm
|
16 mm
|
20 mm
|
16,4 mm
|
1 mm
|
| |||
|
20/24X10 I STYRRING
Art.nr.
02002410K68
Kopierad :-)
|
9,4 mm
|
9,6 mm
|
20 mm
|
24 mm
|
20,4 mm
|
1 mm
|
| |||
|
20/26X10 I STYRRING
Art.nr.
020026K68
Kopierad :-)
|
9,5 mm
|
9,7 mm
|
20 mm
|
26 mm
|
20,4 mm
|
1 mm
|
| |||
|
25/31X9.4 I STYRRING
Art.nr.
025031K68
Kopierad :-)
|
9,4 mm
|
9,6 mm
|
25 mm
|
31 mm
|
25,5 mm
|
1 mm
|
| |||
|
25/29X9.4 I STYRRING
Art.nr.
02502910K68
Kopierad :-)
|
9,4 mm
|
9,6 mm
|
25 mm
|
29 mm
|
25,5 mm
|
1 mm
|
| |||
|
30/34X10 I STYRRING
Art.nr.
030034K68
Kopierad :-)
|
9,5 mm
|
9,7 mm
|
30 mm
|
34 mm
|
30,5 mm
|
1 mm
|
| |||
|
30/36X10 I STYRRING
Art.nr.
030036K68
Kopierad :-)
|
9,3 mm
|
9,5 mm
|
30 mm
|
36 mm
|
30,5 mm
|
1 mm
|
| |||
|
32/36X10 I STYRRING
Art.nr.
03203610K68
Kopierad :-)
|
9,5 mm
|
9,7 mm
|
32 mm
|
36 mm
|
32,5 mm
|
1 mm
|
| |||
|
32/38X10 I STYRRING
Art.nr.
032038K68
Kopierad :-)
|
9,4 mm
|
9,6 mm
|
32 mm
|
38 mm
|
32,5 mm
|
1 mm
|
| |||
|
35/41X10 I STYRRING
Art.nr.
035041K68
Kopierad :-)
|
9,4 mm
|
9,4 mm
|
35 mm
|
41 mm
|
35,5 mm
|
1 mm
|
| |||
|
36/40X10 K68 STYRRING POM/GLAS
Art.nr.
03604010K68
Kopierad :-)
|
9,5 mm
|
9,7 mm
|
36 mm
|
40 mm
|
36,5 mm
|
1 mm
|
| |||
|
40/46X13 K68 STYRRING
Art.nr.
04004613K68
Kopierad :-)
|
12,8 mm
|
13 mm
|
40 mm
|
46 mm
|
40,5 mm
|
1,5 mm
|
| |||
|
40/45X10 I STYRRING
Art.nr.
04004510K68
Kopierad :-)
|
10 mm
|
10,2 mm
|
40 mm
|
45 mm
|
40,5 mm
|
1,5 mm
|
| |||
|
40/44X10 I STYRRING
Art.nr.
04004410K68
Kopierad :-)
|
9,5 mm
|
9,7 mm
|
40 mm
|
44 mm
|
40,5 mm
|
1,5 mm
|
| |||
|
40/46X9.6(9.8) I STYRRING POM
Art.nr.
040046K68
Kopierad :-)
|
9,6 mm
|
9,8 mm
|
40 mm
|
46 mm
|
40,5 mm
|
1,5 mm
|
| |||
|
40/45X5.6 I STYRRING
Art.nr.
04004505K68
Kopierad :-)
|
5,4 mm
|
5,6 mm
|
40 mm
|
45 mm
|
40,5 mm
|
1,5 mm
|
| |||
|
45/51X10 I STYRRING
Art.nr.
04505110K68
Kopierad :-)
|
9,5 mm
|
9,7 mm
|
45 mm
|
51 mm
|
45,5 mm
|
1,5 mm
|
| |||
|
45/51X13 I STYRRING
Art.nr.
045051K68
Kopierad :-)
|
12,5 mm
|
12,7 mm
|
45 mm
|
51 mm
|
45,5 mm
|
1,5 mm
|
| |||
|
50/56X10 I STYRRING
Art.nr.
05005610K68
Kopierad :-)
|
9,5 mm
|
9,7 mm
|
50 mm
|
56 mm
|
50,5 mm
|
1,5 mm
|
| |||
|
50/56X13 I STYRRING
Art.nr.
050056K68
Kopierad :-)
|
12,5 mm
|
12,7 mm
|
50 mm
|
56 mm
|
50,5 mm
|
1,5 mm
|
| |||
|
50/55X9.7 I STYRRING
Art.nr.
05005510K68
Kopierad :-)
|
9,5 mm
|
9,7 mm
|
50 mm
|
55 mm
|
50,5 mm
|
1,5 mm
|
| |||
|
55/61X13 I STYRRING
Art.nr.
055061K68
Kopierad :-)
|
12,5 mm
|
12,7 mm
|
55 mm
|
61 mm
|
55,5 mm
|
2 mm
|
| |||
|
56/62X13 I STYRRING
Art.nr.
056062K68
Kopierad :-)
|
12,5 mm
|
12,7 mm
|
56 mm
|
62 mm
|
56,5 mm
|
2 mm
|
| |||
|
60/66X13 I STYRRING
Art.nr.
060066K68
Kopierad :-)
|
12,5 mm
|
12,7 mm
|
60 mm
|
66 mm
|
60,5 mm
|
2 mm
|
| |||
|
60/65X10 I STYRRING
Art.nr.
06006510K68
Kopierad :-)
|
9,5 mm
|
9,7 mm
|
60 mm
|
65 mm
|
60,5 mm
|
2 mm
|
| |||
|
63/69X12.5 I K-68 STYRRING
Art.nr.
063069K68
Kopierad :-)
|
12,5 mm
|
12,7 mm
|
63 mm
|
69 mm
|
63,5 mm
|
2,5 mm
|
| |||
|
65/71X13 I STYRRING
Art.nr.
065071K68
Kopierad :-)
|
12,5 mm
|
12,7 mm
|
65 mm
|
71 mm
|
65,5 mm
|
2,5 mm
|
| |||
|
70/76X13 I STYRRING
Art.nr.
070076K68
Kopierad :-)
|
12,5 mm
|
12,7 mm
|
70 mm
|
76 mm
|
70,5 mm
|
2,5 mm
|
| |||
|
75/81X13 I STYRRING
Art.nr.
075081K68
Kopierad :-)
|
12,5 mm
|
12,7 mm
|
75 mm
|
81 mm
|
75,5 mm
|
2,5 mm
|
| |||
|
80/86X13 I STYRRING
Art.nr.
080086K68
Kopierad :-)
|
12,5 mm
|
12,7 mm
|
80 mm
|
86 mm
|
80,5 mm
|
2,5 mm
|
| |||
|
90/96X13 I STYRRING
Art.nr.
090096K68
Kopierad :-)
|
12,5 mm
|
12,7 mm
|
90 mm
|
96 mm
|
90,5 mm
|
2,5 mm
|
| |||
|
100/106X13 I STYRRING
Art.nr.
100106K68
Kopierad :-)
|
12,5 mm
|
12,7 mm
|
100 mm
|
106 mm
|
100,5 mm
|
3,5 mm
|
| |||
|
105/110X15 K68 STYRRING
Art.nr.
10511015K68
Kopierad :-)
|
15 mm
|
15,2 mm
|
105 mm
|
110 mm
|
105,6 mm
|
3,5 mm
|
| |||
|
110/116X13 I STYRRING
Art.nr.
110116K68
Kopierad :-)
|
12,5 mm
|
12,7 mm
|
110 mm
|
116 mm
|
110,6 mm
|
3,5 mm
|
| |||
|
110/116X7.5 I STYRRING
Art.nr.
11011607K68
Kopierad :-)
|
7,5 mm
|
7,7 mm
|
110 mm
|
116 mm
|
110,6 mm
|
3,5 mm
|
| |||
|
120/126X13 I STYRRING
Art.nr.
120126K68
Kopierad :-)
|
12,5 mm
|
12,7 mm
|
120 mm
|
126 mm
|
120,6 mm
|
3,5 mm
|
| |||
|
125/131X13 I STYRRING
Art.nr.
125131K68
Kopierad :-)
|
12,5 mm
|
12,7 mm
|
125 mm
|
131 mm
|
125,6 mm
|
3,5 mm
|
| |||
|
130/135X15 K68 STYRRING
Art.nr.
13013515K68
Kopierad :-)
|
15 mm
|
15,2 mm
|
130 mm
|
135 mm
|
130,6 mm
|
3,5 mm
|
| |||
|
140/146X13 I STYRRING
Art.nr.
140146K68
Kopierad :-)
|
12,5 mm
|
12,7 mm
|
140 mm
|
146 mm
|
140,6 mm
|
3,5 mm
|
| |||
|
160/166X19.5 I STYRRING
Art.nr.
160166K68
Kopierad :-)
|
12,5 mm
|
12,7 mm
|
160 mm
|
166 mm
|
160,6 mm
|
3,5 mm
|
|
Nedladdning av CAD När du ser en grön
på en artikel i listan betyder det att du kan ladda ner dess CAD-ritning i det format som du först väljer i listan här. Klicka sedan på ikonen så genereras CAD-filen och nedladdning påbörjas direkt.
Välj en variant i listan
Hittar du inte det du söker eller kan vi hjälpa dig på något annat vis? Fyll i formuläret nedan så återkommer vi så snart vi bara kan!
Vänligen inkludera ett telefonnummer om du önskar bli uppringd.